- 索 引 号:QZ00109-3000-2022-00054
- 备注/文号:泉民事〔2022〕5号
- 发布机构黑料网-抖音黑料网站 泉州市公安局 泉州市卫生健康委员会
- 公文生成日期:2022-12-12
各县(市、区)黑料网
、公安局、卫生健康局,泉州台商投资区民生保障局、公安分局:
现将《福建省民政厅 福建省公安厅 福建省卫生健康委员会关于印发福建省“公民婚育一件事”实施方案的通知》(闽民规〔2022〕13号)转发给你们,请认真按照方案要求,抓好贯彻落实。
黑料网
泉州市公安局 泉州市卫生健康委员会
2022年12月7日
(此件主动公开)
福建省民政厅 福建省公安厅 福建省卫生健康委员会关于印发福建省“公民婚育一件事”
实施方案的通知
闽民规〔2022〕13号
各设区市黑料网
、公安局、卫生健康委员会,平潭综合实验区行政审批局、公安局、社会事业局:
现将《福建省“公民婚育一件事”实施方案》印发你们,请认真贯彻执行。
福建省民政厅 福建省公安厅 福建省卫生健康委员会
2022年11月18日
(此件主动公开)
根据省委办公厅、省政府办公厅《关于深入推进审批服务便民化的实施意见》(闽委办发〔2018〕18号)和《福建省行政审批制度改革工作小组办公室关于做好近期“一件事”集成套餐服务改革有关工作的函》等文件精神,制定本实施方案。
一、工作目标
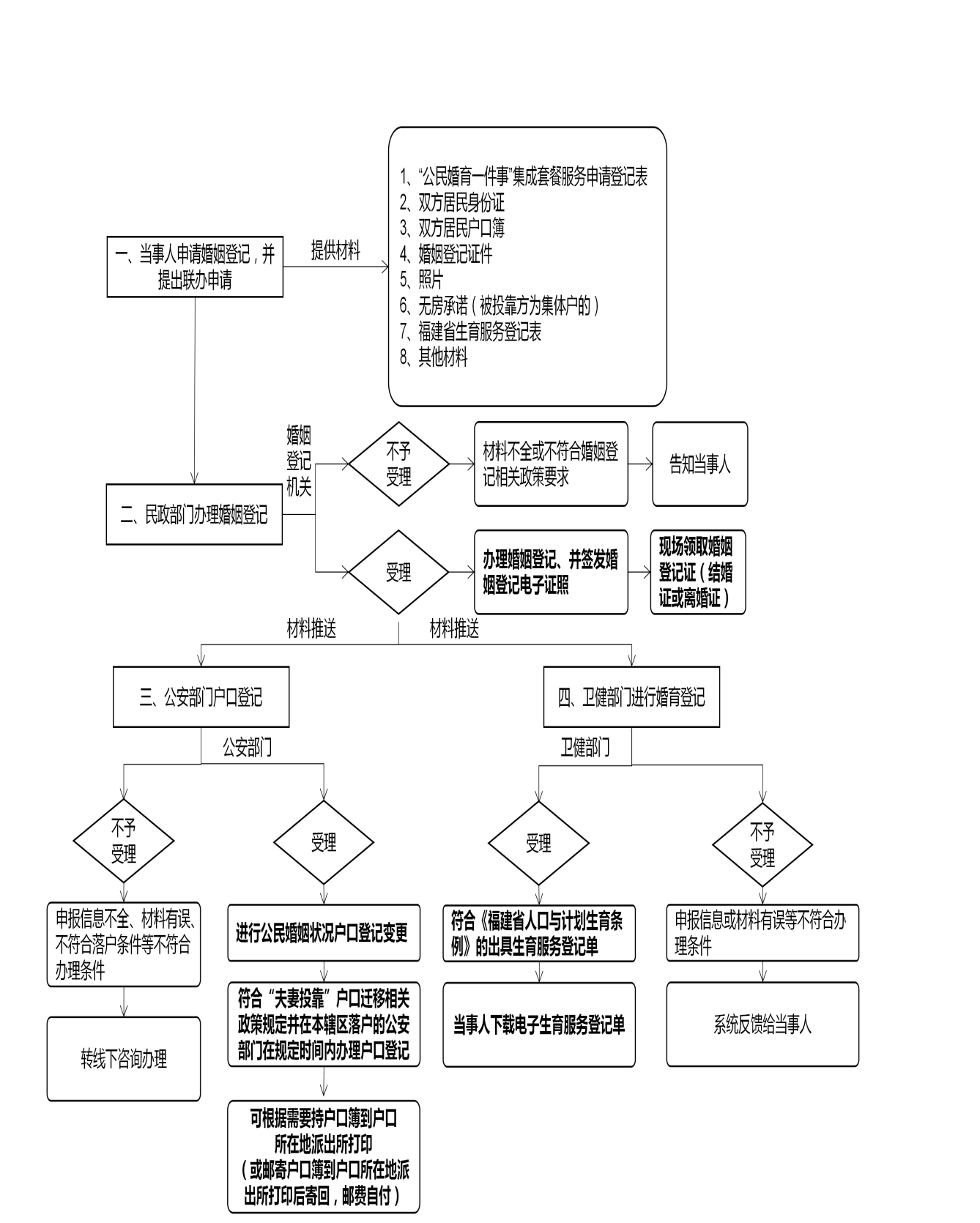
省内居民办理内地居民婚姻登记时,同步申请办理户口登记项目婚姻状况变更,登记窗口告知并依本人申请,提供生育登记、符合条件的夫妻投靠户口迁移“一件事”联办服务。
二、实施方式和进度安排
2022年底前打造“一表申请、一平台受理、一站服务”的联办模式,通过网上办事大厅、闽政通APP,推进内地居民婚姻登记、户口登记项目婚姻状况变更、夫妻投靠户口迁移、生育登记事项跨部门联办,实现“公民婚育一件事”集成套餐服务模式。
三、重点任务
(一)升级改造业务系统。升级福建省婚姻登记管理信息系统,新增公民婚育一件事业务办理功能,实现“公民婚育一件事”窗口申请办理,通过省政务总线向公安、卫健部门实时推送联办数据。
(二)建立部门联办机制。建立民政牵头、公安、卫健等部门协同联办的工作机制,明确职责分工,层层落实责任,形成工作合力。完善系统对接、联调,实现相关联办数据的实时推送、接收和流转。
四、保障措施
(一)提高思想认识。实施内地居民婚姻登记、户口登记项目婚姻状况变更、夫妻投靠户口迁移、生育登记“公民婚育一件事”,是坚持人民至上,深化“放管服”改革,建设人民满意的服务型政府的重要内容。各相关部门要统一思想,提高认识,加强衔接配合,确保“公民婚育一件事”改革顺利推进。
(二)加强技术支撑。各部门要根据“公民婚育一件事”工作要求,进一步加快推进业务系统建设、对接和信息数据共享工作,持续提升共享的信息数据质量,加强联办事项数据信息、资料流转规范管理,保障数据安全。
(三)加强业务培训。各部门要负责本部门对应事项政策指导、数据管理和业务办理,及时开展基层工作人员的业务培训,确保其熟练掌握相关业务知识和“公民婚育一件事”改革后的办理流程和工作规范,提高服务效率,确保服务质量。
本《方案》从印发之日起实施,有效期5年。系统启用时间为2022年12月26日。
附件:1.“公民婚育一件事”服务指南
2.“公民婚育一件事”申请表
3.“公民婚育一件事”办理流程图
附件1
“公民婚育一件事”服务指南
一、定义
省内居民办理内地居民婚姻登记时,同步申请办理户口登记项目婚姻状况变更,登记窗口告知并依本人申请,提供生育登记、符合条件的夫妻投靠户口迁移“公民婚育一件事”联办服务。
二、审核确认依据
1.《中华人民共和国民法典》
2.《婚姻登记条例》(中华人民共和国国务院令第387号)
3.《婚姻登记工作规范》(民发〔2015〕230号)
4.《福建省户口居民身份证管理工作规定》 (闽公综〔2021〕275号)
5.《厦门市人民政府关于深化户籍制度改革完善户口迁移政策的通知》
6.《福建省人口与计划生育条例》
三、申请条件
(一)婚姻登记
1.结婚登记:要求结婚的男女双方共同到婚姻登记处提出申请;当事人男年满22周岁,女年满20周岁;当事人双方均无配偶(未婚、离婚、丧偶);当事人双方没有直系血亲和三代以内旁系血亲关系;双方自愿结婚。
2.离婚登记:要求离婚的夫妻双方共同到婚姻登记处提出申请;双方均具有完全民事行为能力。
(二)户口登记项目婚姻状况变更
省内居民办理婚姻登记后,公安部门根据接收的当事人《“公民婚育一件事”申请表》《居民户口簿》《居民身份证》和婚姻登记证件的电子材料及信息数据,变更户口登记项目婚姻状况。
(三)夫妻投靠户口迁移
省内夫妻投靠户口迁移,向迁入地公安派出所提出申请,不受合法稳定住所、家庭户或者集体户(人才派遣单位、人才中介机构、人才储备机构、已撤销企业单位等非直接用工单位集体户除外)等限制。提交夫妻双方《居民户口簿》《居民身份证》《结婚证》,被投靠一方属于单位集体户的,还需提交夫妻双方在本设区市市辖区、县(市)内无房承诺。
特别说明:《厦门市人民政府关于深化户籍制度改革完善户口迁移政策的通知》明确,夫妻投靠的,需夫妻结婚登记时间满1年,夫妻复婚的以复婚登记时间作为夫妻婚姻关系存续时限的起算点。
(四)生育登记
所有生育子女的对象一般在分娩前或分娩后三个月内均可办理生育登记。
四、办理方式
1.线上办理:当事人可通过网上办事大厅、闽政通APP进行在线申请、上传材料等。
2.线下办理:到婚姻登记窗口现场办理婚姻登记后,对符合条件的当事人依申请通过婚姻登记系统推送联办数据至公安、卫健部门。
五、申请材料清单
|
序号 |
材料名称 |
|
1 |
“公民婚育一件事”集成套餐服务申请登记表 |
|
2 |
双方居民身份证 |
|
3 |
双方居民户口簿 |
|
4 |
婚姻登记证件 |
|
5 |
照片 |
|
6 |
无房承诺(被投靠方为集体户的) |
|
7 |
福建省生育服务登记表 |
|
8 |
其他材料 |
六、办理期限
按所涉内地居民婚姻登记、户口登记项目婚姻状况变更、夫妻投靠户口迁移、生育登记的业务法定时限办理。
七、办理结果
民政部门为符合婚姻登记条件的当事人颁发婚姻登记证件后通过“公民婚育一件事”系统依申请即时推送联办信息。公安部门在收到婚姻登记变更申请信息后,在1个工作日内办理户口登记项目婚姻状况变更,当事人可根据需要持户口簿到户口所在地派出所打印(或邮寄户口簿到户口所在地派出所打印后寄回,邮资自付);收到申请办理夫妻投靠户口迁移的联办信息后,在10个工作日内审核办结,并反馈结果,由系统通知申请人:通过审核的,可根据需要持户口簿到户口所在地派出所打印(或邮寄户口簿到户口所在地派出所打印后寄回,邮资自付);未通过审核的,转线下咨询办理。卫健部门查收并审核相关信息,当事人在审核通过后即可网上下载、打印《福建省生育服务登记表》。
附件2
“公民婚育一件事”申请表
|
结婚登记 |
登记类型 |
(结婚登记 (离婚登记 |
婚姻登记机关 |
|
|||||||||||
|
男方信息 |
|||||||||||||||
|
姓名 |
|
公民身份号码 |
|
||||||||||||
|
出生日期 |
年 月 日 |
民族 |
|
手机号码 |
|
||||||||||
|
户籍地址 |
省 市 县(区) 乡镇(街道) (村)社区 |
||||||||||||||
|
女方信息 |
|||||||||||||||
|
姓名 |
|
公民身份号码 |
|
||||||||||||
|
出生日期 |
年 月 日 |
民族 |
|
手机号码 |
|
||||||||||
|
|
户籍地址 |
省 市 县(区) 乡镇(街道) (村)社区 |
|||||||||||||
|
联办事项 |
|
||||||||||||||
|
户口登记 |
勾选联办户口登记项目婚姻状况变更事项的填写:申请将男方户口簿婚姻状况变更为 (已婚 (离婚 (复婚 (再婚,将女方户口簿婚姻状况变更为 (已婚 (离婚 (复婚 (再婚。 |
||||||||||||||
|
勾选联办夫妻投靠户口迁移事项的填写:根据现行夫妻投靠户口迁移的相关政策,(男方 (女方 申请将本人配偶及子女户口迁入本人户籍所在地。 |
|||||||||||||||
|
随迁子女 |
姓名 |
公民身份号码 |
与申请人关系 |
||||||||||||
|
|
|
|
|||||||||||||
|
|
|
|
|||||||||||||
|
|
|
|
|||||||||||||
|
婚育登记 |
请下载填写附表《福建省生育服务登记表》 |
||||||||||||||
|
送达方式 |
居民户口簿 ( 邮寄打印(请邮寄到户口所在地或迁入地公安派出所打印,打印后寄回,双向邮资自付) ( 自行打印(请及时到户口所在地或迁入地公安派出所打印) |
||||||||||||||
|
邮寄打印后收件地址: 收件人: 联系电话: |
|||||||||||||||
|
承诺声明 |
我们承诺以上表格填写内容及提供的材料真实有效,如存在虚假信息,愿意承担一切法律责任。 承诺人男方(签名): 承诺人女方(签名): |
||||||||||||||

扫一扫在手机上查看当前页面


闽公网安备 35050302000444号